32-разрядные микроконтроллеры ATMEL на базе ядра ARM7
Корпорация ATMEL предлагает чрезвычайно широкий спектр микроконтроллеров, начиная от 4-разрядных семейства MARC4, применяемых в простейших приложениях, и заканчивая 32-разрядными микросхемами на базе ядер ARM9 и AVR32, как правило, требующих для полноценного использования применение той или иной операционной системы. Микроконтроллеры на базе ядра ARM7 занимают среднее положение и заполняют нишу 16/32-разрядных контроллеров с производительностью 30 – 60 MIPS.
Введение
Разработчиком микроконтроллерного ядра ARM является английская фирма Advanced Risc Machines. Одна из разработок этой фирмы, ARM7, точнее ARM7TDMI получила наибольшую популярность, и лицензию на это ядро приобрели все основные мировые производители микроконтроллеров. Одной из интересных особенностей ядра ARM7TDMI является возможность функционирования в двух режимах, 32-разрядном и 16- разрядном режиме THUMB, причем переход из одного режима в другой осуществляется программно «на лету».
Таким образом, можно говорить, что микросхемы ARM7TDMI покрывают как 32-, так и 16-разрядный сегменты рынка.
Микросхемы на базе ядра ARM7, выпускаемые различными производителями, имеют одинаковое ядро и примерно равные объемы встроенных ПЗУ и ОЗУ. Основные отличия микросхем состоят в скорости работы и наборе периферийных модулей.
Первые микроконтроллеры на ядре ARM7 корпорация ATMEL выпускала по технологическим нормам 0,25 мкм, и их тактовая частота составляла 33 МГц. Родоначальник семейства – микросхема AT91R40400, не имела ПЗУ на кристалле, а размер ОЗУ составлял всего 4 Кбайта, что и определило короткий срок жизни этой микросхемы. Вскоре она была заменена на AT91R40800 с объемом ОЗУ 8 Кбайт. Естественно, эти микросхемы имели внешнюю шину адреса и данных, однако, ширина шины данных составляла 16 бит, что вдвое увеличивало время доступа к данным. Эта проблема была решена в микросхеме AT91R40008, где объем ОЗУ на кристалле увеличен до 256 кБайт. Следующим шагом на пути увеличения интеграции был выпуск микросхем со встроенным ПЗУ. Микросхема AT91FR40162S имела Flash-ПЗУ объемом 2 Мбайт. Однако, это было компромиссное решение, так как, фактически микросхема состояла из двух кристаллов, то есть, Flash-ПЗУ представляо собой отдельный кристалл памяти серии AT49LV, подключенный к внешней 16-битной шине. Этим, в частности, объясняется тот факт, что микросхема AT91FR40162S не имела возможности защиты содержимого ПЗУ от несанкционированного копирования.
Кардинальные изменения произошли с выходом микросхем семейства SAM7 (Smart ATM7), которое выпускается с 2005 года. Эти микросхемы изготавливаются по технологическим нормам 0,18 мкм, что позволило увеличить тактовую частоту до 55-60 МГц и разместить на кристалле помимо ПЗУ и ОЗУ также большое количество периферийных модулей.
Следует понимать, что общая производительность контроллера зависит не только от собственно тактовой частоты, но, в большой степени, от организации потоков данных в кристалле. Очевидное преимущество микросхем семейства SAM7 состоит в применении контроллеров прямого доступа к памяти (DMA-контроллер), причем для каждого периферийного модуля, как правило, есть выделенный двухканальный DMA-контроллер.
Микросхемы SAM7 в настоящее время состоят из трех серий: AT91SAM7S, AT91SAM7A и AT91SAM7X. Отличие серий заключается в наборе перифрийных модулей. Базовая серия, SAM7S, содержит интерфейсы UART, USART, SPI, I2C, SSC и USB. Серия SAM7A дополнительно оснащено двухканальным CAN-контроллером, а серия SAM7X - одноканальным CAN-контроллером и модулем Ethernet MAC 10/100 Mbit. К концу 2006 г. выйдет четвертая серия микросхем – AT91SAM7SE. Отличительной особенностью этой серии будет наличие внешней шины адреса/данных, к которой могут быть подключены различные типы памяти: SRAM, SDRAM, Parallel Flash, NAND-Flash. Микросхемы SAM7SE будут выпускаться в 128-выводном корпусе.
Все микросхемы имеют раздельное питание ядра и периферийных модулей, 1,8 В и 3,3 В соответственно. Встроенный преобразователь питания ядра снимает необходимость в применении внешней микросхемы стабилизатора напряжения. Такое сочетание параметров позволяет применять микроконтроллеры SAM7 в самых различных приложениях, в том числе для построения низкопотребляющих систем, работающих в реальном времени.
Основные характеристики микроконтроллеров AT91SAM7:
- наилучшее соотношение производительность/потребляемая мощность
- производительность – 30…60 MIPS
- 32/16-битная шина команд (ARM/THUMB)
- 32-битная внутренняя шина данных
- программируемая 8/16/32 битная внешняя шина данных
- многоканальный контроллер прямого доступа к памяти (PDC)
- последовательный интерфейс SPI (Master/Slave режим), четыре выхода Chip Select
- двухпроводный интерфейс TWI, (совместимый с I2C), поддержка режима Master Mode
- встроенный микромощный RC-генератор и модуль ФАПЧ
- расширенный тактовый генератор и контроллер управления энергопотреблением
- четыре программируемых внешних источника тактирования
- контроллер прерываний с расширенными функциями
- внутрисхемный эмулятор с коммуникационным отладочным каналом
- встроенный модуль отладки (через UART)
- таймер реального времени (Real-time Timer) с отдельным прерыванием
- 2 или 3 трехканальных 16-битных таймера/счетчика
- сторожевой таймер
- напряжение питания – 3,0 … 3,6В
- 5В-толерантные входы/выходы
- режимы снижения энергопотребления
- встроенная схема Power-On Reset
- встроенная программа-автозагрузчик для загрузки FLASH-памяти через UART или USB-порт
- защита памяти программ от несанкционированного чтения
Сводная таблица параметров микроконтроллеров семейства SAM7

Примечания: Микросхема SAM7X имеют на кристалле модуль Ethernet MAC 10/100 Mbit.
Пожалуй, наиболее интересным представителем семейства SAM7 является микроконтроллер
AT91SAM7X. Эта микросхема, несмотря на малогабаритный 100-выводной корпус, имеет чрезвычайно богатый набор периферии:
- 2 порта SPI, поддержка режима Master/Slave, 8- и 16-битный обмен
- порт TWI, полный аналог порта I2C
- порт USB device, режим USB 2,0 Full Speed, 12 Мбит/с
- порт SSC, поддержка режима I2S
- порт CAN, поддержка режима 2.0А и 2.0В
- 1 отладочный порт UART
- 2 порта USART, аппаратная поддержка протоколов RS-485 и ISO7816 T0/T1 Smart Card
- JTAG-порт
- 10-битный 8-канальный АЦП с временем преобразования 2 мкс.
Завершает это многообразие модуль Ethernet MAC 10/100. Таким образом, пользователь получает систему на кристалле, позволяющую строить на ее основе высокоинтегрированные малогабаритные одноплатные контроллеры, которые могут общаться с внешним миром по интерфейсам 7 различных типов. И это по цене менее 300 рублей в розницу!
 Рис. 1. Структурная схема AT91SAM7X
Несколько слов следует сказать еще об одном семействе микроконтроллеров SAM7 – микросхемах AT91SAM7XC. Очевидно, что встроенный модуль Ethernet MAC будет использоваться для передачи информации по локальным и глобальным сетям. Естественно, часть этой информации является
конфиденциальной, и ее следует передавать в закодированном виде. Именно для этого микросхемы AT91SAM7XC содержат на кристалле аппаратный модуль кодирования, поддерживающий алгоритмы DES, Triple DES и AES со скоростью кодирования 11,2 Mbps, 12,8 Mbps и 20 Mbps соответственно, занимая при этом не более 1% ресурсов процессора. Неприятность состоит в том, что эти микросхемы могут экспортироваться только в страны, подписавшие соглашение об экспортном регулировании. К сожалению, Россия не входит в список стран, подписавших это соглашение, поэтому поставки микросхем семейства AT91SAM7XC в Россию запрещены.
Источником тактирования контроллера может быть встроенный RC-генератор, частота 22 – 42 кГц (SLCK), основной генератор, частота от 3 до 20 МГц (MAINCK), либо модуль ФАПЧ (PLLCK). Модуль ФАПЧ формирует частоту, используя дробный коэффициент умножения.
 Рис. 2. Схема тактирования процессора и периферии
В микросхеме используются раздельные цепи для тактирования ядра процессора и периферийных модулей. Важную роль выполняет цепь MCK (Master clock), которая тактирует, в частности, модули USART и SPI. Частота MCK настраивается программно в диапазоне от сотен Герц до максимальной частоты кристалла. FLASH-память программ имеет ширину шины данных 32 бита и время доступа 25 нс, таким образом, при тактовой частоте до 30 МГц, выборка команды происходит без задержки. Если частота ядра находится в диапазоне 30 … 60 МГц, для выборки команды вводится такт задержки. При использовании контроллера в режиме THUMB (ширина команды 16 бит) за одно обращение к FLASH-памяти происходит выборка двух команд, которые затем выполняются последовательно.
Типовое напряжение питания микроконтроллеров SAM7 составляет 3,3 Вольта. Для снижения
потребляемой мощности ядро микросхемы питается напряжением 1,8 Вольта, причем преобразователь
напряжения встроен в кристалл. Тем не менее, допускается подача напряжения питания на ядро от внешнего источника питания. При этом, внутренний преобразователь напряжения может быть выключен.
 Рис. 3. Встроенный преобразователь напряжения
Микросхемы имеют очень гибкую конфигурацию портов ввода/вывода (PIO Parallel Input/Output Controller). Каждая линия порта может быть входом, входом с подтягивающим резистором, входом с аппаратной фильтрацией ложных узких импульсов («иголок»), обычным выходом, выходом с тристабильным состоянием, выходом с открытым стоком. Кроме этого, каждая линия портов ввода/вывода может являться входом прерывания.
 Рис. 4. Структура порта ввода/вывода
Периферийный DMA-контроллер
Встроенные MCU-приложения, подключенные к сети, должны иметь возможность взаимодействия как с внешними устройствами, так и с ядрами управления и предоставлять программисту максимальные возможности управления этими операциями. Они также должны обеспечивать бесшовную и непрерывную передачу данных между памятью и периферийными устройствами без остановок на переинициализацию счетчика транзакций. Это становится особенно актуальным, если необходимо производить передачу потоков данных одновременно по нескольким каналам. Таким образом, в ряде задач на первое место выходит подсистема обслуживания обмена данными между внешними устройствами и внутренней памятью контроллера, то есть модуль прямого доступа к памяти.
 Рис. 5. Структура периферийного DMA-контроллера
Каналы прямого доступа к памяти не являются неотъемлемой частью процессора ARM7TDMI.
Центральный процессор может сам пересылать данные побайтно. Все это прекрасно, пока количество
передаваемых данных односительно невелико. Однако, когда скорость передачи данных превысит один миллион бит в секунду (Mbps), даже у быстрых процессоров может не хватать ресурсов. Например, на частоте 50 МГц передача со скоростью 1 Mbps занимает 28% ресурса процессора ARM7TDMI. Передача со скоростью 2 Mbps занимает более половины ресурсов процессора, а на скорости 4 Mbps процессор уже не способен выполнять параллельно другие операции.
Если положить, что максимальная скорость передачи по интерфейсу USB 2.0 равна 12 Mbps, скорость CAN будет равна 1 Mbps, Ethernet будет работать на 100 Mbps, а SAM SPI и периферийные USART на 25 Mbps, становится понятно, что процессы пересылки данных должны обслуживаться выделенной системой. Компания ATMEL добавила в архитектуру процессоров семейства ARM7 многоканальный контроллер периферийных каналов прямого доступа к памяти (PDC), напрямую осуществляющий обмен данными между периферийными устройствами, внутренними регистрами и внешней памятью. Основная часть периферийных модулей AT91SAM7 имеет два выделенных канала PDC, для приема и передачи данных соответственно. Пользовательский интерфейс канала периферийного контроллера PDC встроен в память каждого периферийного модуля и содержит 32-битный регистр-указатель адреса, 16-битный регистр-счетчик пересылок, 32-битный регистр для указателя следующего адреса памяти и 16-битный регистр-счетчик для следующих пересылок. Периферийные модули переключают потоки данных PDC, используя сигналы приема-передачи. По окончании пересылки первого программного блока данных соответствующий периферийный модуль генерирует прерывание окончания пересылки. Автоматически начинается пересылка второго блока данных, а обработка данных первого блока может выполняться параллельно процессором ARM, тем самым обходясь без медленных прерываний в режиме реального времени, замедляющих обновление регистров-указателлей в процессоре, и поддерживая высокоскоростную пересылку данных в периферийный модуль. PDC имеет выделенные регистры состояния, указывающие для каждого канала возможность или невозможность пересылки В любой момент времени можно считать из памяти адрес размещение очередной пересылки и количество оставшихся пересылок.
Когда периферийный модуль принимает внешний символ, он посылает сигнал готовности приема на PDC, который затем запрашивает доступ к системной шине. По получении доступа PDC начинает считывание регистра удержания приема - Receive Holding Register (RHR) - периферийного модуля и затем инициирует запись в память. После каждой пересылки счетчик-указатель памяти PDC инкрементируется, а количество оставшихся пересылок декрементируется. Когда достигается величина блока памяти, автоматически начинается пересылка следующего блока или на периферийный модуль посылается сигнал, и пересылка останавливается. Аналогичная процедура (в обратном порядке) повторяется в случае выдачи блока данных из памяти во внешнее устройство. Если на идентичные периферийные модули приходят одновременно запросы одного типа (приема или передачи), приоритет определяется по порядковому номеру периферийного модуля. Если запросы на пересылку не одновременны, они обрабатываются в порядке поступления. Запросы от принимающих модулей обрабатываются первыми, затем обрабатываются запросы от передающих модулей.
Чтобы обеспечить, непрерывность передачи блоков данных большого объема, модуль PDC содержит два набора регистров-счетчиков. При переполнении одного счетчика PDC загружает значение следующего счетчик в сдвиговый регистр, генерирует прерывание и обновляет следующий счетчик. Один набор счетчиков-регистров используется для первоначальной пересылки, а другой– для следующей пересылки, позволяя программисту поочередно переключая DMA-каналы для обеспечения непрерывности процесса пересылки данных между DMA и периферийными модулями.
В отличие от традиционных структур прямого доступа к памяти, пересылки PDC не выражаются в количестве 8-, 16-, 32- бит или байт, слов или полуслов. Счетчик пересылок управляет циклами передачи по 32-битной шине, и при этом периферийный модуль определяет, какая именно будет пересылка (в объеме байта, слова или полуслова). Если периферийный модуль запрограммирован на пересылку восьмибитных данных, контроллер PDC может пересылать 64 килобайта данных методом пересылки блоков. Если запрограммированы 16-битные пересылки, он перемещает 128 килобайт данных, и, соответственно, если пересылаются 32-бит данные, максимальный объем операции составляет 256 килобайт.
Для упрощения программирования программные регистры PDC встроены в каждый периферийный модуль. Размещение регистров и счетчиков привязано универсально, поэтому программист видит перечень регистров и указателей: адреса и объемы для текущего и следующего счетчиков и регистр контроллера возможности или невозможности пересылки. Модуль PDC работает по прерывания, не нарушая работу процессора, существенно уменьшая таким образом количество циклов процедуры синхронизации, требуемых для пересылки данных, и освобождая MCU отдополнительной работы по управлению. Схемы DMA в архитектруре SAM7X позволяют ему одновременно выполнять роль коммуникационного контроллера и универсального процессора даже при высоких скоростях пересылки данных. Например, процессор AT91SAM7X использует только 2% своей вычислительной мощности для пересылок данных на скороти 4 Mbps. Он с легкостью поддерживает пересылки на частоте 25 МГц по интерфейсам SPI или TWI и при этом имеет 96% доступных ресурсов для выполнения основной программы. Если при передаче данных используется кодирование, контроллер PDC также позволяет ускорить процесс обмена данными в несколько раз, например AT91SAM7XС может передавать поток данных закодированных по алгоритму AES со скоростью 80 Mbps.
Поддержка приложений, работающих в режиме реального времени
Несмотря на наличие интерфейсов 10/100 Ethernet, CAN и USB и аппаратное кодирование данных, все же еще очень легко упустить из виду тот факт, что встроенные системы остаются системами режима реального времени. Обработка должна быть детерминистична, команды и данные должны поступать в нужное место строго в соответствии с синхроимпульсами. К сожалению, подавляющее большинство 32-битных контроллеров, обладающих лошадиной мощностью для сетевых операций, слабо приспособлены для работы в режиме реального времени.
Высокоскоростная 25 нс флэш-память на микроконтроллерах SAM7X позволяет за один цикл получить команду из памяти, исключая необходимость кэширования кода и и гарантируя детерминистичную обработку.
Структура без использования конвейера для хранения команд имеет очень малое время реакции на выполнение команд переходов и вызовов процедур, потому чтоне нужно тратить дополнительное время на заполнение конвейера. SAM7 может обеспечить производительности 38 MIPS, не используя кэширования флэш-памяти, и 50 MIPS в случае выполнения программы из SRAM.
Системы реального времени, как правило, работают по прерываниям. SAM7 имеет набор индивидуально маскируемых, векторов источников прерываний и контроллер прерываний с 8 уровнями приоритетов, постоянно хранящимися в SRAM, что позволяет оперативно управлять уровнями приоритетов прерываний. Процедуры Чтение/Изменение/Запись (Read/Modify/Write), которые индивидуально устанавливают или очищают бит в пространстве ввода-вывода, достаточно стандартные в системах режима реального времени, но не слишком хорошо поддерживаются 32-битными MCU, обычно требующими до 15 команд для выполнения. В SAM7 каждый периферийный модуль имеет свою выделенные регистры «установки» (set) и «сброса» (clear). Это позволяет обойтись 6-цикловой последовательностью загрузки/перемещения/хранения (load/move/store), для управления всеми маскированиями прерываний, процедурами установки и сброса битов. В итоге, время на обработку и кодирование уменьшается на 60%.
Другое «узкое» место 32-битных процессоров – отсутствие «супервизорских» функций для предупреждения неожиданного сброса системы вследствие проблем с питанием. SAM7 содержит на кристалле полный набор модулей для слежения за питанием: схему задержки запуска при подаче питания, схему слежения за уровнем напряжения питания встроенный RC-генератор и, естественно, сторожевой таймер.
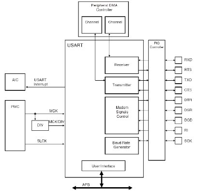
Последовательные порты микроконтроллера AT91SAM7
Микросхемы SAM7 имеют на кристалле три типа портов UART/USART. Порт Debug UART используется для отладки программы, однако, он может быть использован и как обычный последовательный порт, если для обмена достаточно сигналов TXD и RXD. Максимальная скорость обмена составляет MCK/16. Порт имеет полный набор сигналов квитирования для подключения модема.
 Рис. 6. Структура порта USART
Порт USART, в дополнение к асинхронному, имеет также синхронный режим работы, с использованием внешних тактирующих импульсов. Максимальная частота работы равна частоте MCK, для тактирования также может быть использована внешняя частота. Среди дополнительных возможностей USART следует отметить аппаратное формирование сигнала направления передачи для управления драйвером шины RS-485, поддержка протокола ISO7816, T0 или T1 для работы со смарт-картами, а также встроенный модулятор/демодулятор для организации обмена по инфракрасному каналу (IrDA).
Интерфейс SPI поддерживает работу в режимах Master Multi-Master и Slave, позволяет передавать данные пакетами 8 или 16 бит на частотах от MCK/2 до MCK/8192. Каждый SPI-порт имеет до четырех отдельных сигналов Chip Select, что позволяет работать с четырьмя внешними устройствами без применения внешней декодирующей логики. Очень удобно реализована процедура инициализации обмена. К каждому выводу Chip Select «привязан» набор параметров – скорость обмена, режим SPI, длина слова, начальная задержка при старте обмена. Таким образом, к одному порту можно подключить несколько периферийных устройств с различными характеристиками, и при начале работе с каждым из них инициализация порта происходит автоматически.
 Рис. 7. Структура порта SPI
Интерфейс TWI (Two Wire Interface) – это стандартный двухпроводный интерфейс, полностью совместимый с интерфейсом I2C, частота обмна – до 400 кГц. Для работы необходимо подключить два внешних резистора.
Контроллер SSC (Synchronous Serial Controller) содержит независимые приемник и передатчик с общей цепью тактирования. Для приема и передачи используются по три линии: данные (TD/RD), тактовые импульсы (TF/RF) и импульсы синхронизации пакетов (Frame Sync). Этот интерфейс широко применяется в телекоммуникационных приложениях. В аудио-приложениях можно использовать этот интерфейс в режиме I2S.
CAN-контроллер работает на скорости до 1 Mbit/s и обеспечивает поддержку всех спецификаций протокола CAN, определненных стандартом ISO/11898A (2.0 Part A и 2.0 Part B) для высоких скоростей обмена и ISO/11519-2 для низких скоростей обмена. Доступ к контроллеру осуществляется через конфигурационные регистры. Контроллер имеет 8 независимых «почтовых ящиков» (message objects), каждый из которых может быть запрограммирован на прием или на передачу. Уровень приоритета для каждого почтового ящика может быть запрограммирован независимо. CAN-контроллер оптимизирован для работы по протоколу TCC (Time Triggered Comunication.
Порт USB device совместим со стандартом USB V2.0 Full Speed (скорость обмена 12 Мбит/с). Порт содержит 6 «конечных точек» (Endpoint), каждая из которых может быть сконфигурирована под свой тип передачи и привязана к одному или двум банкам двухпортовой памяти (Dual-Port RAM, DPR). Если используется два банка, один DPR-банк считыватся/записывается процессором, а второй – считывается/записывается периферийным устройством. При этом обеспечивается реальная скорость передачи 1 Мбайт/с.
Параметры USB Endpoints для микроконтроллеров серии SAM7
Номер |
Обозначение |
Dual-Bank |
Макс. размер |
Тип конечной точки |
0 |
EP0 |
нет |
8 |
Control/Bulk/Interrupt |
1 |
EP1 |
да |
64 |
Bulk/Iso/Interrupt |
2 |
EP2 |
да |
64 |
Bulk/Iso/Interrupt |
3 |
EP3 |
нет |
64 |
Control/Bulk/Interrupt |
4 |
EP4 |
да |
256 |
Bulk/Iso/Interrupt |
5 |
EP5 |
да |
256 |
Bulk/Iso/Interrupt |
Модуль EMAC содержит 10/100 Мбит Ethernet MAC, совместимый со стандартом IEEE 802.3.
Поддерживается как дуплексный, так и полудуплексный режим работы. Приемные буферы имеют
фиксированную длину 128 байт, а размер передающих буферов может иметь размер от 0 до 2048 байт. Модуль EMAC работает как с интерфейсом MII (Media Independent Interface), так и усеченным интерфейсом RMII (Reduced Media Independent Interface). Интерфейс RMMI требует меньшее число линий обмена, так как данные передаются и принимаются по двум линиям (вместо 4 линий для MII), а также не обрабатываются сигналы Transmit error bit (ETXER) и collision detect (ECOL). Выбор типа интерфейса производится программно.
В дополнение к вышеописанным интерфейсам, контроллеры SAM7 имеют 8-или 16 канальный АЦП последовательного приближения. АЦП может работать как 10- или как 8-разрядный. В первом случае время преобразования составляет 2 мкс, во втором – 1,25 мкс. Диапазон измеряемых напряжений – от 0 В до уровня опорного напряжения, который должен быть в диапазоне от 2,6 до 3,3 В.
 Рис. 8. Структурная схема АЦП
Микросхема SAM7 имеет встроенный загрузчик памяти программ, причем загрузка может
производиться либо по порту UART (DBGU), либо по порту USB. Таким образом, можно программировать
микросхемы непосредственно в системе, используя стандартный кабель. При программировании микросхемы
программа-загрузчик копируется в ОЗУ, таким образом, весь объем FLASH-памяти может быть занят
пользовательской программой.
Содержимое памяти программ микроконтроллера защищается от несанкционированного копирования. Для отладки программ рекомендуется использовать внутрисхемный эмулятор AT91SAM-ICE, который подключается к порту USB компьютера.
 Рис. 9. Внутрисхемный эмулятор АТ91SAM-ICE
В качестве программной среды удобно использовать пакет IAR KickStart компании IAR Это
полнофункциональная бесплатная усеченная версия пакета IAR Embedded Workbench. Максимальный размер
кода в пакете IAR KickStart ограничен 32 Кб.
 Рис. 10. Рабочее окно программы SAM-BA
Для микросхем SAM7 компания ATMEL предлагает стартовые наборы: AT91SAM7S-EK, AT91SAM7A-EK и AT91SAM7X-EK.
 Плата AT91SAM7S-EK
 Плата AT91SAM7A-EK
 Плата AT91SAM7X-EK
Программное обеспечение для загрузки памяти программ микроконтроллеров семейства SAM7
называется SAM-BA (SAM Boot Assistant) и может быть загружено с сайтов www.atmel.com и
www.argussoft.ru/atmel.
Выводы
Современные встроенные системы управления быстро перерождаются во встроенные сети, часто объединяющиеся друг с другом через Интернет. Эта тенденция изменяет критерии выбора микроконтроллеров для многих встроенных приложений. Микроконтроллеры должны предлагать широкие коммуникационные возможности, основанные на промышленных стандартах, таких как USB, CAN и Ethernet. Архитектуры MCU должны быть способны передавать большие объемы данных без ущерба для производительности процессора. Использование таких систем в сетях общего пользования требует применения кодирования данных и надежного хранения кодов доступа. Тем не менее нет необходимости применять системы чрезмерно высокой производительности исходя толькоиз того факта, что встроенные системы являются системами режима реального времени, независимо от того подключены они к сети или нет. Однако, при выборе типа микроконтроллера разработчикам следует учитывать уровень аппаратных возможностей для поддержки приложений режима реального времени. Как минимум, микроконтроллер должен обеспечивать детерминистичную обработку, и иметь встроенные средства слежения за качеством питания.
Литература
- Технические описания микросхем AR91SAM7
- Материалы дистрибьюторских семинаров ATMEL
- Статья Networked Networks and Embedded Microcontroller Architectures, ATMEL Application Journal, Winter 2006, авторы Jako Wilbrink, Dany Nativel, Tim Martin.
Николай Королев
|